Desde hace algún tiempo, han surgido muchas críticas y opiniones divididas en redes sociales, pues una parte de los usuarios de Windows 11 considera que la integración de la IA de Microsoft en el sistema operativo se siente muy forzada, lo que resulta molesto, sobre todo porque tampoco utilizan las bondades de Copilot.
Esta integración «forzada» se ha visto en apps como Paint o Fotos, por ejemplo, pero también a otras de ofimática. De hecho, es bastante complicado usar Windows 11 sin toparse con las opciones de IA de Copilot. Pero no es todo, ya que, como confirman los compañeros de Windows Central, Microsoft sigue con este compromiso y ahora llevará estas características inteligentes a una de las herramientas de utilidad del sistema operativo. Y tiene sentido.
La IA de Copilot llegará al portapapeles de Windows 11 muy pronto
Es cierto que Microsoft cuenta con un montón de opciones avanzadas y complejas diseñadas para facilitar la experiencia de los usuarios. Pero, a veces, lo simple es mejor, motivo por el cual, características como el portapapeles son tan atractivas y verdaderamente útiles.
El portapapeles en Windows 11 es bastante completo. Y es que si pulsas la combinación de teclas WINDOWS + V, se abrirá esta interfaz, mostrándote todos los elementos recientes que has copiado. De esta manera, puede «recordar» varias cosas para disponer de ellas y pegarlas cuando necesites.
Microsoft quiere seguir desarrollando las capacidades de Copilot, por lo que han estudiado las formas en las que los usuarios utilizan esta herramienta. En Windows Central han descubierto una patente de Microsoft en la Oficina de Patentes de Estados Unidos que abordaba esta integración de Copilot al portapapeles.

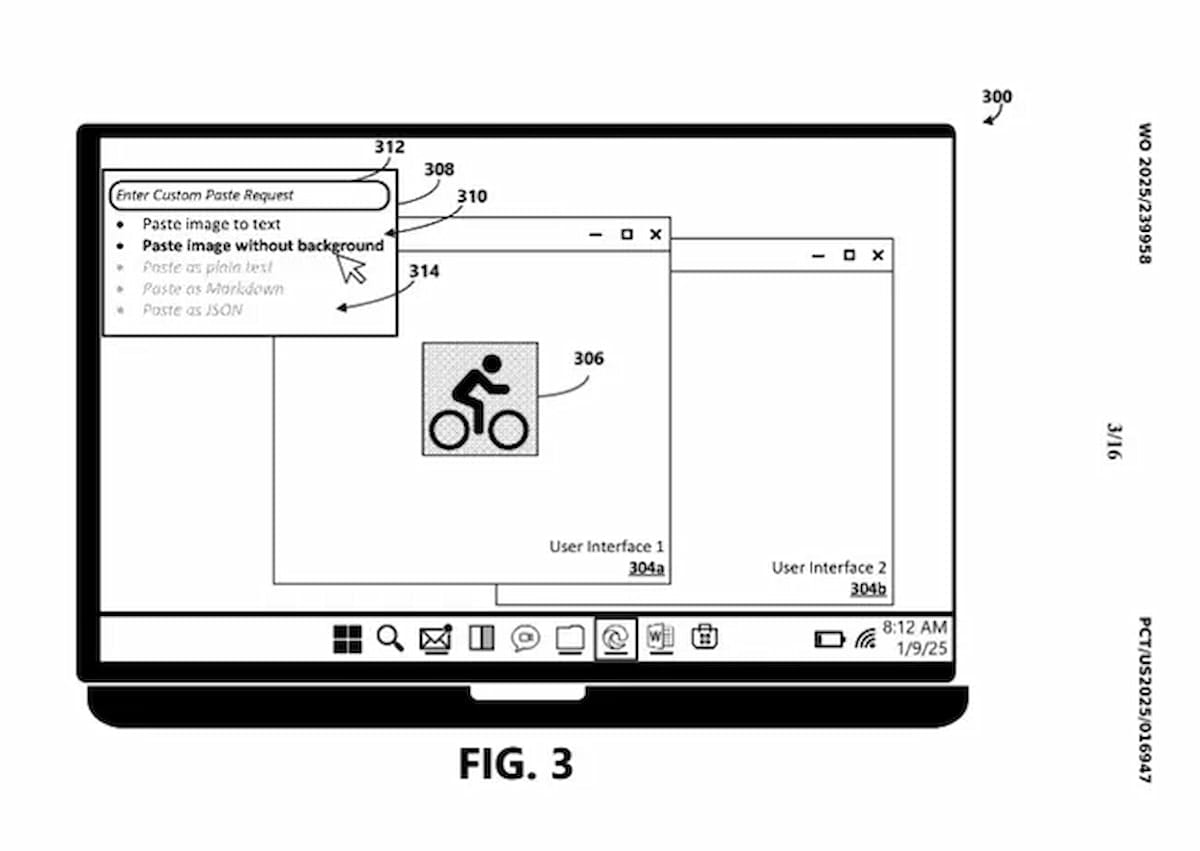
De cierto modo, sería algo como un pegado avanzado de PowerToys. Y es que la patente describe un sistema que puede acceder a un modelo de lenguaje, Copilot posiblemente, para ayudar a las personas a cambiar de versión y manipular los datos que han copiado.
Entre los ejemplos podemos encontrar la posibilidad de eliminar el fondo de una imagen, lo que haría más fácil el crear stickers o gráficos para presentaciones. O bien se pueden transformar estos datos de texto plano en formato de tablas y, posteriormente, en HTML para pegar en webs.
En la patente también se puede leer que la IA almacenará de forma temporal toda la información copiada para determinar conversiones posibles y, posteriormente, les permitirá a los usuarios escoger lo que quieren hacer. Es un abanico mucho más variado e interesante también.
La compañía ya ha estado probando funciones de copiar y pegar potenciadas por IA en apps como Word, por ejemplo. Pero esta integración la llevaría al portapapeles, dotándolo de mucha más utilidad.
Es importante señalar que las patentes no necesariamente se traducen en productos y resultados. De hecho, existen casos donde no terminan implementándose.
La IA aún no está lo suficientemente pulida como para ejecutar tareas verdaderamente complejas de manera confiable. Sin embargo, este manejo de los elementos y datos copiados para ofrecer conversiones y opciones es verdaderamente útil. Microsoft puede aprovechar sus capacidades para enriquecer esta herramienta que ya era útil. Pero solo el tiempo dirá si terminaremos recibiendo esta novedad o no.

